天软金融分析.NET函数大全 > TSL函数 > 数学函数 > 小波分析

Wavedec    

简述
使用给定的小波wname进行一维多尺度离散小波分析,返回信号xin在n层上的小波分解。输出分解结构包含小波分解向量C和相应的记录向量L.
定义
wavedec(X:Array;N: Integer;Wname:String):Array;
参数
名称类型说明
XArray一维序列,一维数字数组
N Integer小波分解层数,正整数
WnameString基础小波函数,字符串类型
Wname 现有小波函数
Daubechies 'db1' or 'haar', 'db2', ... ,'db45'
Coiflets 'coif1', ... , 'coif5'
Biorthogonal 'bior1.1','bior1.3','bior1.5','bior2.2','bior2.4', 'bior2.6','bior2.8','bior3.1','bior3.3','bior3.5', 'bior3.7','bior3.9','bior4.4','bior5.5','bior6.8'
Reverse Biorthogonal 'rbio1.1','rbio1.3','rbio1.5','rbio2.2','rbio2.4', 'rbio2.6','rbio2.8','rbio3.1','rbio3.3','rbio3.5', 'rbio3.7','rbio3.9','rbio4.4','rbio5.5', 'rbio6.8'
  • 范例

    SetSysParam(PN_Stock(),"SH000300");
    SetSysParam(pn_date(),inttodate(20120731));
    close300 := nday(800,"时间",DateTimeToStr(sp_time(1)),"收盘价",close());
    close3 := close300[:,"收盘价"];
    return wave := Wavedec(close3,3,"db3");

    输出结果格式:

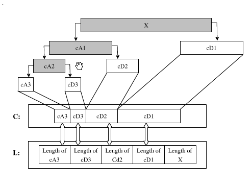
    第一行是小波分解向量C,第二行是相应的记录向量L
    下面我们从图像来直接看看小波分解:
    原始序列:

    原始序列可分解成:
    参考
    wrcoef wavelet 
相关